Zestaw wentylacyjny pompy ciepła rozszerzony
501,84 zł
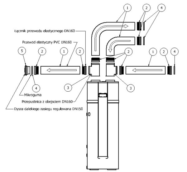
Zestaw wentylacyjny rozszerzony przystosowany jest do wykonania instalacji wentylacyjnej pompy ciepła. Powietrze zasysane jest z zewnątrz lub z pomieszczenia (wybór dzięki przepustnicy z ręczną nastawą położenia. Następnie możemy tłoczyć je opcjonalnie na zewnątrz budynku lub do pomieszczenia przez drugą przepustnicę znajdującą się w zakresie dostawy zestawu rozszerzonego.
Zastosowanie zestawu wentylacyjnego pozwala na niezależne od pomieszczenia pobieranie powietrza do pracy, co jest istotne także przy małej kubaturze, bądź przy zwiększonym zanieczyszczeniu wewnątrz pomieszczenia. Schłodzone powietrze usuwane z pompy ciepła, można także wykorzystać do okresowego (i darmowego) chłodzenia pomieszczeń.
- Opis
Opis
W skład zestawu wentylacyjnego wchodzą następujące elementy:
- Przewód elastyczny dn160 długość 5 m: 1 szt.
- Przepustnica dn160 z obejściem: 2 szt.
- Dysza dn150 dalekiego zasięgu regulowana: 1 szt.
- Mikroguma samoprzylepna 5×15 długość 470 mm: 4 szt.
- Łącznik przewodu elastycznego DN160: 4 szt.
Zestaw przeznaczony jest do pomp ciepła typoszeregu PCWU.










